Kia Sorento: Rear Differential Carrier Disassembly - Differential Carrier Assembly - Driveshaft and axle - Kia Sorento XM 2011-2026 Service ManualKia Sorento: Rear Differential Carrier Disassembly

Second Generation XM (2011-2026) / Kia Sorento XM 2011-2026 Service Manual / Driveshaft and axle / Differential Carrier Assembly / Rear Differential Carrier Disassembly

Rear differential carrier disassembly
1.
Drain oil by removing the drain plug (A) and filler plug (B) before disassembling the rear differential carrier.

  
Use a new drain plug and pillar plug whenever installing.
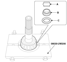
2.
Using the SST(09530-3T300), hold the differential assembly safely.

3.
Remove the air breather plug (A).

4.
Loosen the cover bolts (A-8EA) and then remove the cover (B).

5.
Loosen the bolts (A-4EA) and then remove the bearing cap (B).

6.
Remove the gear carrier assembly (A).

7.
Mark the left and right side bearing race as below when removing the differential assembly to distinguish the sides.

8.
Using the screwdriver, remove the left and right side oil seal (A).
  
Use a new oil seal whenever installing.

Gear carrier assembly disassembly
1.
Loosen the seal bolts and then remove the gear carrier (A) and ring gear (B).
  
Piant match marks on the gear carrier and the ring gear.

2.
Using the SST (09530-3T200) remove the front and rear bearing (A).

3.
Mark the left and right side bearing as below when removing the bearing to distinguish the sides.

disassembly the pinion assembly
1.
Using the SST(09530-3T300), fix the differential carrier assembly.

2.
Fix the SST (09530-2W300) on the lock nut.

3.
Fix the flange fix (A) on the SST (095302W300).

4.
Insert the SST (095302W400) to the hole of the hexagon and then remove the lock nut (A).

5.
Using the screwdriver, remove the pinion oil seal (A).

6.
Press the drive gear and remove the pinion front bearing (A).

7.
Using a hammer and chisel, remove the pinion bearing outer race (A).

8.
Using the SST (09527-4A000), press the pinion drive gear and then remove the pinion bearing spacer (A), the inner bearing (B), Inner bearing adjustment shims (C) in the order.

Rear Differential Carrier Removal
1. Remove the rear wheel and tire (A) from rear hub. Tightening torque: 88.2 ~ 107.8 N.m (9.0 ~ 11.0 kgf.m, 65.0 ~ 79.5 lb-ft) ...

Rear Differential Carrier Reassembly
Pinion drive gear height adjustment Adjust the height of the drive pinion in the following order. 1. Below are the special tools to measure the pinion height ...

See also:

Panorama Sunroof Motor Replacement
Resetting The Panoramaroof Whenever the vehicle battery is disconnected or discharged, or you use the emergency handle to operate the panoramaroof, you have to reset your panoramaroof sys ...

Tire Removal
1. Remove valve core and deflate the tire. 2. Remove the side of the tire bead area from the wheel using tire changing machine . ...

IMS Control Switch Inspection
1. Disconnect the IMS control switch connector. 2. With the power IMS control switch in each position, make sure that continuity ex ...

Copyright www.ksmanual.com 2014-2026