Kia Sorento: Rear Differential Carrier Reassembly - Differential Carrier Assembly - Driveshaft and axle - Kia Sorento XM 2011-2026 Service ManualKia Sorento: Rear Differential Carrier Reassembly

Second Generation XM (2011-2026) / Kia Sorento XM 2011-2026 Service Manual / Driveshaft and axle / Differential Carrier Assembly / Rear Differential Carrier Reassembly

Pinion drive gear height adjustment
Adjust the height of the drive pinion in the following order.
1.
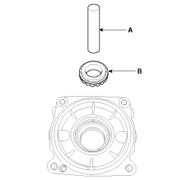
Below are the special tools to measure the pinion height

2.
The special tool lock nut (A), pinion oil seal (B), pinion front bearing (C), inner bearing (D) and special tool support body (E) are mounted as follows.

Tightening torque lock nut (A) :
88.3~137.3Nm (9.0~14.0kgf.m, 65.1~101.3lb-ft)

3.
Put the main body (A) on the Differential Case (B).

4.
The bearing cap (B) is mounted on the main body (A).

Tightening torque : 54.0~63.7Nm (5.5~6.5kgf.m, 39.8~47.0lb-ft)

5.
Using the feeler gage, measure the gap between the main body (A) and bearing cap (B). And then select the inner bearing adjustment shim.

6.
Install the selected inner bearing (A) adjustment shim.

Inner bearing adjustment shim
Part NO.
Thickness
inch
53040-3C138
1.38
0.054
53040-3C141
1.41
0.055
53040-3C144
1.44
0.057
53040-3C147
1.47
0.058
53040-3C150
1.50
0.059
53040-3C153
1.53
0.06
53040-3C156
1.56
0.061
53040-3C159
1.59
0.063
53040-3C162
1.62
0.064
53040-3C165
1.65
0.065
53040-3C168
1.68
0.066
53040-3C171
1.71
0.067
53040-3C174
1.74
0.068
53040-3C177
1.77
0.067

Rear differential carrier reassembly
1.
Using the SST (09530-3T100), install the inner pinion bearing outer race (A).

2.
Using the SST (09530-3T100), install the outer pinion bearing outer race.

3.
Using the round pipe (A), press in the pinion rear bearing (B).

4.
Install the pinion bearing spacer (B) on the pinion drive gear (A).
  
Must be use new spacer.

5.
Using the round pipe (A), press the front bearing (B).

6.
Using the SST (09530-3T600), install the pinion oil seal.

7.
Using the SST(09530-3T300), install the pinion lock nut (A).

Tightening torque : 186.33~441.3Nm (19.0~45.0kgf.m, 137.43~325.48lb-ft)

  
Must be use new lock nut.
8.
tighten the lock nut.

Standard (pinion bearing preload) :
92.22~179.46Nm (9.2~18.3kgf.m, 66.54~132.36lb-ft)

  
Maintain the constant speed rotation (60rpm).

Gear carrier assembly reassembly
1.
Using the SST (09453-3B200), install the front/rear bearing (A).

2.
Install the gear carrier and ring gear.

Tightening torque :
137.3~156.9Nm (14.0~16.0kgf.m, 101.3~115.7lb-ft)

  
When tightening the seal bolt, please do it diagonal.

3.
Install the left and right side bearing outer race (A) to the gear carrier.

4.
Fix the left and right side bearing outer race (A) with both hands and install it on the differential case.

5.
Insert the left and right adjustment spacer between the differential side bearing and carrier. And than install the bearing cap (A) with mark.

Tightening torque :
53.9~63.7Nm (5.5~6.5kgf.m, 39.8~47.0lb-ft)

6.
Adjust the differential shim and confirm the standard of the backlash.

standard : 0.10 ~ 0.15 mm ( 0.004~0.006 inch)

  
Thickness of the differential shim needs to be adjusted if backlash is small.
Reduce the thickness of the left side differential shim and enlarge the thickness of the right side differential shim as much as the reduced left side.
7.
Adjust gear assembly run out backlash.

Standard : 0~0.05mm(0~0.002inch)

8.
Measures the preload.

Standard
Pinion bearing preload : 0.25~0.84Nm (2.5 ~ 8.5 Kgf.cm, 0.18~0.62 lb-ft)

9.
Coat sealant (A) on the rear cover surface.

Sealant : MS 721-40

  
Remove the remaining sealant before coating.
Evenly coat the sealant 2~3 mm thick along the rear cover surface.

10.
Install the differential rear cover (A).

Tightening torque :
39.2~49.0Nm (4.0 ~ 5.0 kgf.m, 28.9~36.2 lb-ft)

11.
Install the drain plug (A) and filler plug (B).

Filler plug :
39.2~58.8Nm (4.0 ~ 6.0 kgf.m, 28.9~43.4 lb-ft)
Drain plug :
49.0~68.6Nm (5.0 ~ 7.0 kgf.m, 36.2~50.6 lb-ft)

12.
Using the SST (09530-2W100, 09231-H1100), install the left and right side oil seal.

13.
Reassemble the rear differential assembly to the vehicle and inject oil.

Specified lubricant :
Hypoid gear oil API GL-5, SAE 75W/90 (SHELL SPIRAX X or equivalent)
Oil quantity :
0.53±0.05L (The differential oil level should be between the bottom of the filler plug hole and a point approximately 8 mm below the filler plug hole.)

Rear Differential Carrier Disassembly
Rear differential carrier disassembly 1. Drain oil by removing the drain plug (A) and filler plug (B) before disassembling the rear differential carrier. ...

Suspension System
...

See also:

ESC OFF Switch Inspection
1. Turn ignition switch OFF and disconnect the negative (-) battery cable. 2. Remove the crash pad lower panel. (Refer the Body - & ...

Troubleshooting
Ignition System Symptom Suspect Area Remedy Engine will not start or is hard to start (Cranks OK) Ignition lock switch Inspect ignition ...

Engine compartment
1. Engine coolant reservoir 2. Engine oil filler cap 3. Brake fluid reservoir 4. Air cleaner 5. Fuse box 6. Positive battery terminal 7. Negative battery terminal 8. Windshield washer fluid r ...

Copyright www.ksmanual.com 2014-2026