Kia Sorento: CVVT & Camshaft Description
| - |
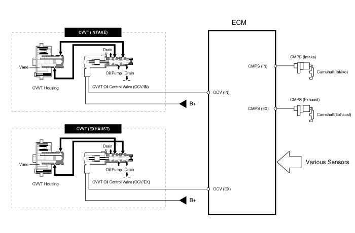
the CVVT Oil Control Valve (OCV) which supplies the engine oil to the
cam phaser or runs out the engine oil from the cam phaser in accordance
with the ECM PWM (Pulse With Modulation) control signal,
|
| - |
the CVVT Oil Temperature Sensor (OTS) which measures the engine oil
temperature,
|
| - |
and the Cam Phaser which varies the cam phase by using the hydraulic
force of the engine oil.
|

CVVT & Camshaft Components
CVVT & Camshaft Operation PrincipleComponents and Components Location
Components (1)
1. Parking brake pedal
2. Equalizer assembly
3. Parking brake cable
Components (2)
1. Parking brake pedal assembly
2. Front parking brak ...
Driver's and passenger's front air bag
Your vehicle is equipped with an Advanced Supplemental Restraint (Air Bag) System
and lap/shoulder belts at both the driver and passenger seating position.
The indication of the system's prese ...
Interior D
* These dimensions indicated in this figure are actual-measurement
dimensions. [ Unit : mm (inch) ]
Front pillar ...