Kia Sorento: Rear Wiper Motor Removal - Rear Wiper/Washer - Body Electrical System - Kia Sorento XM 2011-2026 Service ManualKia Sorento: Rear Wiper Motor Removal

Second Generation XM (2011-2026) / Kia Sorento XM 2011-2026 Service Manual / Body Electrical System / Rear Wiper/Washer / Rear Wiper Motor Removal

1.
Detach the rear wiper cap (A).

2.
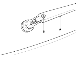
Remove the rear wiper arm & blade (A) after removing rear wiper HEX nut (B).

3.
Open the tailgate then remove the tailgate trim.
(Refer to Body - "Tailgate")
4.
Disconnect the rear wiper motor connector (B) then remove the rear wiper motor (A) after loosening bolts (3EA).

Rear Wiper Motor Inspection
Rear Wiper Motor 1. Remove the 4P connector from the rear wiper motor. 2. Connect battery positive (+) and negative (-) cables to terminals ...

Rear Wiper Motor Installation
1. Install the rear wiper motor assembly. Tightening torque Nut : 7 ~ 11 N.m (0.7 ~ 1.1 kgf.m, 5 ~ 7.9 lbf-ft) ...

See also:

Ignition Coil Description
An ignition coil is an induction coil in an engine's ignition system which transforms the battery's low voltage to the high voltage needed to create an electric spark in the spark plu ...

Fuel Line Installation
1. Install in the reverse order of removal. ...

Telemetics Unit (TMU) Inspection
1. After replacing the TMU unit, access Dealer Engineering Mode in head unit. (Refer to MTS system - "TMU Dealer Engineering Mode") 2 ...

Copyright www.ksmanual.com 2014-2026