Kia Sorento: Rear Driveshaft Reassembly
| 1. |
Wrap tape around the driveshaft splines (TJ side ) to prevent
damage to the boots.
|
| 2. |
Apply grease to the driveshaft and install the boots.
|
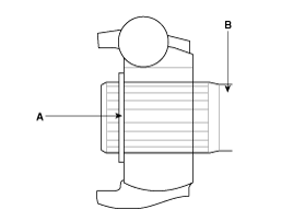
| 3. |
Apply the specified grease to the inner race (A) and cage (B).
Install the cage (B) so that it is offset on the race as shown.
|
| 4. |
Apply the specified grease to the cage and fit the balls into
the cage.
|
| 5. |
Position the chamfered side (A) as shown in the illustration.
Install the inner race on the driveshaft(B), and then the snap ring.
|
| 6. |
Apply the specified grease to the outer race and install the BJ
outer race onto the driveshaft.
|
| 7. |
Apply the specified grease into the TJ boot and install the boot
with a clip.
|
| 8. |
Tighten the TJ boot bands.
|
| 9. |
Add the specified grease to the BJ as much as wiped away at inspection.
|
| 10. |
Install the boots.
|
| 11. |
Tighten the BJ boot bands.
|
| 12. |
To control the air in the TJ boot, keep the specified distance
between the boot bands when they are tightened.
|

Rear Driveshaft DisassemblyTroubleshooting
Ignition System
Symptom
Suspect Area
Remedy
Engine will not start or is hard to
start (Cranks OK)
Ignition lock switch
Inspect ignition ...
Inspection
1.
Turn ignition switch OFF.
2.
Remove the air duct.
(Refer to Engine Mechanical System - "Air cleaner")
...
CVVT & Camshaft Inspection
Continuously variable valve timing (CVVT) Assembly
1.
Inspect the CVVT for smooth rotation.
(1)
Clamp the camshaft using a vise. Be carefu ...