Kia Sorento: Brake Pedal Inspection - Brake System - Brake System - Kia Sorento XM 2011-2026 Service ManualKia Sorento: Brake Pedal Inspection

Second Generation XM (2011-2026) / Kia Sorento XM 2011-2026 Service Manual / Brake System / Brake System / Brake Pedal Inspection

1.
Check the bushing for wear.
2.
Check the brake pedal for bending or twisting.
3.
Check the brake pedal return spring for damage.
4.
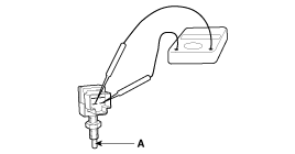
Check the stop lamp switch.
(1)
Connect a circuit tester to the connector of stop lamp switch, and check whether or not there is continuity when the plunger of the stop lamp switch is pushed in and when it is released.
(2)
The stop lamp switch is in good condition if there is no continuity when plunger(A) is pushed.

Brake Pedal Removal
1. Turn ignition switch OFF and disconnect the negative (-) battery cable. 2. Remove the crash pad lower panel and reinforce panel. ...

Brake Pedal Installation
1. Pre-tighten the bracket fixing bolt (A) in dash panel. 2. Install the brake booster and brake pedal member fixing nuts (A) secur ...

See also:

Driver Airbag (DAB) Module and Clock Spring Description
Driver Airbag (DAB) is installed the steering wheel and electrically connected to SRSCM via the clock spring. It protects the driver by deploying the airbag when frontal crash occurs. The SRS ...

Winter driving
Severe weather conditions in the winter result in greater wear and other problems. To minimize the problems of winter driving, you should follow these suggestions: Snowy or icy conditions To driv ...

Front seat adjustment - power (if equipped)
The front seat can be adjusted by using the control switches located on the outside of the seat cushion. Before driving, adjust the seat to the proper position so you can easily control the steerin ...

Copyright www.ksmanual.com 2014-2026