Kia Sorento: Panorama Sunroof Replacement
Movable Glass Replacement
|
1. |
Tilt the rear part of the movable glass (A) using the panorama
sunroof switch.

|
|
2. |
Remove both sides of the decoration cover (A).

|
|
3. |
Loosen the mounting screws (A) on both sides.
|
• |
Be careful not to damage the screws.
|
|

|
|
4. |
Carefully lift up the movable glass (A) and then remove it.

|
|
5. |
Install in the reverse order of removal.
|
• |
After replacing the movable glass adjust the alignment
if needed.
|
|
|
Panorama Sunroof Deflector Replacement
|
1. |
Completely open the movable glass using the panorama sunroof switch.
|
|
2. |
Loosen he mounting screws (A) located at the side of the panorama
sunroof deflector.
|
• |
Be careful not to damage the screws.
|
|

|
|
3. |
Remove the panorama sunroof deflector (A) after loosening the
mounting screws located on the front.
|
• |
Be careful not to damage the screws.
|
|

|
|
4. |
Install in the reverse order of removal.
|
Roller Blind Replacement
|
1. |
Open the roller blind using the panorama sunroof switch.
|
• |
Leave 10 ~ 20cm (0.3937 ~ 0.7874 in) of the roller
blind unopened.
|
|

|
|
3. |
Remove the roller blind bar (C) by pressing the top part of the
lock pin (B) located on the both sides of the roller blind shoe (A).

|
|
4. |
Put a fixed pin (B) into the hole located inside the groove of
the right side roller blade side bracket (A). Becareful not to release
tension.

|
|
5. |
Remove the roller blind lower support (A) by loosening the mounting
screws.

|
|
1. |
Install the roller blind side bracket (A) fit into the guide groove
(B).

|
|
2. |
Tighten the mounting screws after installing the roller blind
lower support (A).

|
|
3. |
Remove the fixed pin (B) located inside the right side roller
blade side bracket (A).

|
|
4. |
Install the roller blind bar (A) on top of the roller blind shoe
(B).

|
|
5. |
Put the roller blind bar (A) into the roller blind shoe (B).

|
|
6. |
Install the roof trim.
|
|
7. |
Completely close the movable glass using the panorama sunroof
switch.
|
| •
|
Roller blade tension adjustment
|
| 1. |
Put a fixed pin (B) into the hole located inside the groove
of the right side roller blade side bracket (A). Becareful not
to release tension.

|
| 2. |
Remove the roller blind lower support.
|
| 3. |
Press the lock pin (A) and then remove the push the roller
blind (B) in the direction of the arrow.


|
| 4. |
Remove the roller blind (A) from the roller blind support
bracket (B).

|
| 5. |
Remove the fixed pin (B) from inside the groove of the
right side roller blind side bracket (A).
|
• |
Be careful not to injure your hand when
the roller blind side bracket tension gets releases.
|
|

|
| 6. |
Rotate the roller blade (B) while holding the roller blind
side bracket (A).
|
• |
Be careful not to injure your hand when
the roller blind side bracket tension gets releases.
|
|
|
• |
Rotate it 12 times clockwise.
|
|

|
| 7. |
Put a fixed pin (B) into the hole located inside the groove
of the right side roller blade side bracket (A). Becareful not
to release tension.

|
| 8. |
Install the roller blind on the roller blind support bracket.
|
|
Panorama Sunroof Assembly Replacement
|
1. |
Remove the following items.
| A. |
Second row seat assembly
|
| B. |
Third row seat assembly
|
| D. |
Center pillar lower trim
|
| E. |
Center pillar upper trim
|
|
|
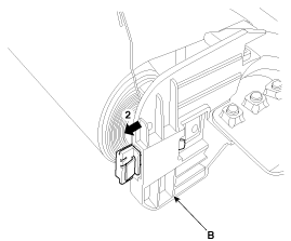
2. |
Remove the panorama sunroof motor connector (A) by pressing the
lock pin.

|
|
3. |
Loosen the panorama sunroof nuts (A).
[Front]
Tightening torque :
6.9 ~ 10.8 N.m (0.7 ~ 1.1 kgf.m, 5.1 ~ 8.0 lb-ft)
|

[Rear]
Tightening torque :
6.9 ~ 10.8 N.m (0.7 ~ 1.1 kgf.m, 5.1 ~ 8.0 lb-ft)
|

|
|
4. |
Loosen the bolts (A) on the side of the panorama sunroof.
Tightening torque :
7.8 ~ 11.8 N.m (0.8 ~ 1.2 kgf.m, 5.8 ~ 8.7 lb-ft)
|

|
|
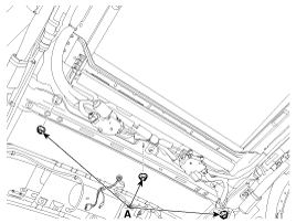
5. |
Cut off the sealant on the front edge while pulling a wire (B)
left and right.
|
• |
Put on gloves to protect your hands.
|
|
• |
Heat may occur when working on the wires. Be careful
not to burn your hands.
|
|
• |
Be careful not to disconnect the wire.
|
|
|
• |
When using a flat-tip screwdriver, wrap it with
protective tape, and apply protective tape around the
related parts to prevent damage.
|
|
• |
Take care not to scratch the body surface.
|
|
|
• |
Two or more people should work on the wires.
|
|

|
|
6. |
If a wire is visible inside the chassiss, pull the wire line (A)
inside.

|
|
7. |
Cut off the sealant on the side (A-A) while pulling a wire (B)
left and right.
|
• |
Put on gloves to protect your hands.
|
|
• |
Heat may occur when working on the wires. Be careful
not to burn your hands.
|
|
• |
Be careful not to disconnect the wire.
|
|
|
• |
When using a flat-tip screwdriver, wrap it with
protective tape, and apply protective tape around the
related parts, to prevent damage.
|
|
• |
Take care not to scratch the body surface.
|
|
|
• |
Two or more people should work on the wires.
|
|

|
|
8. |
Remove the sealant located in the front side (A-A) by using special
tools (09816-2P121, 09816-2P122) while lifting the panorama sunroof
from the chassis with a scraper or flat-tip screwdriver.
|
• |
Be careful not to damage the device hole (B).
|
|
• |
Be careful no to damage the nut hole (C).
|
|
|
• |
When using the special tool, heat may occur. Work
while spraying water.
|
|
• |
Replace damaged tools to new ones while working.
|
|

|
• |
When lifting the panorama sunroof with a spanner
or flat-tip screwdriver, be careful not to damage the
panorama sunroof panel.
|
|
|
|
9. |
Remove the sealant located in the rear side (A-A) by using special
tools (09816-2P121, 09816-2P122) while lifting the panorama sunroof
from the chassis with a scraper or flat-tip screwdriver.
|
• |
This blade has a inclination to push upward.(09816-2P121,
09816-2P122)
|
|
• |
This blade has a inclination to push downward.
(09816-2P123, 09816-2P124)
|
|
• |
When using the special tool, heat may occur. Work
while spraying water.
|
|
• |
Replace damaged tools to new ones while working.
|
|

|
• |
When lifting the panorama sunroof with a spanner
or flat-tip screwdriver, be careful not to damage the
panorama sunroof panel.
|
|
|
|
10. |
Remove the panorama sunroof assembly (A) after cutting off all
sides of the sealant.
|
• |
Be careful not to damage the panorama sunroof
assembly while removing it.
|
|

|
|
1. |
With a knife, scrape the old adhesive smooth to a thickness of
about 2mm (0.08 in.) on the bonding surface around the entire panorama
sunroof opening flange.
|
• |
Do not scrape down to the painted surface of the
body; damaged paint will interfere with proper bonding.
|
|
• |
Remove the rubber dam and fasteners from the body.
|
|
• |
Mask off surrounding surfaces before painting.
|
|

|
|
2. |
Clean the body bonding surface with a sponge dampened in alcohol.
After cleaning, keep oil, grease and water from getting on the clean
surface.

|
|
3. |
Clean the edge of the body panel and panorama sunroof with alcohol
or airgun.
|
|
4. |
Apply primer on the edge of the body panel.
|
• |
Water leakage may occur if you touch the area
applied with primer after installing the panorama sunroof.
|
|
• |
Do not apply primer on the sunroof body.
|
|
• |
Prevent foreign matters from contaminating the
area applied with primer.
|
|

|
|
5. |
Apply primer on the edge of the pamorama sunroof.
|
• |
Water leakage may occur if you touch the area
applied with primer after installing the panorama sunroof.
|
|
• |
Do not apply primer on the sunroof body.
|
|
• |
Prevent foreign matters from contaminating the
area applied with primer.
|
|

|
|
6. |
Apply sealant (B) on the panorama sunroof (A) with a sealant gun.
|
• |
When applying sealant with a sealant gun apply
it without any gap to prevent water leakage.
|
|

|
|
7. |
When intalling the panorama sunroof, match the body centering
device hole (A) and place the panorama sunroof on the body flange.
[Front]

[Rear]

|
|
8. |
After installing the panorama sunroof check the alignment and
gap of each side.
|
Section
|
Alignment
|
Gap
|
Front
|
A-A
|
0 ± 1 mm
(0 ± 0.0394 in)
|
5 ± 1 mm
(0.1969 ± 0.0394 in)
|
Rear
|
B-B
|
0.7 ± 1 mm
(0.0276 ± 0.0394 in)
|
5 ± 1 mm
(0.1969 ± 0.0394 in)
|
Side
|
C-C
|
-
|
5 ± 1 mm
(0.1969 ± 0.0394 in)
|

|
|
9. |
Install the panorama sunroof mounting nuts (A).
[Front]
Tightening torque :
6.9 ~ 10.8 N.m (0.7 ~ 1.1 kgf.m, 5.1 ~ 8.0 lb-ft)
|

[Rear]
Tightening torque :
6.9 ~ 10.8 N.m (0.7 ~ 1.1 kgf.m, 5.1 ~ 8.0 lb-ft)
|

|
|
10. |
Install the bolts (A) on the side of the panorama sunroof.
Tightening torque :
7.8 ~ 11.8 N.m (0.8 ~ 1.2 kgf.m, 5.8 ~ 8.7 lb-ft)
|

|
|
11. |
Connect the panorama sunroof motor connector (A).

|
|
12. |
Install the windshield glass.
|
|
13. |
Test for water leaks.
|
• |
Do not spray water directly towards where it is
newly applied with sealant.
|
|
|
|
14. |
If a leak occurs apply sealant.
|
1. Roof side moulding [LH]
2. Roof side moulding [RH]
3. Movable glass
4. Slide
5. Cover base
6. Wind deflector
7. Panorama sunroof frame assembly
8. Mechanism rai ...
Inspect Glass Alignment
1.
Inspect the alignment of the movable glass (C) that is between
the front (A) and rear (B) glass and if needed adjust it.
...
See also:Fault Diagnosis
Features a fail-safe mechanism that provides "limp-home" 4th gear hold
to enable the vehicle to be driven to the owner's home or dealer shop.
Fail-Safe: The TCM provides 4th ge ...
Using the USB device
To use an external USB device, make sure the device is not connected when
starting up the vehicle. Connect the device after starting up.
If you start the engine when the USB device is connected ...
Water pump Components
1. Water pump pulley
2. Water pump
3. Water pump gasket
4. Water pump housing
5. Water pump housing gasket
6. O-ring
7. Water inlet pipe
...
Copyright www.ksmanual.com 2014-2026
| |