Kia Sorento: Dynamic Damper Installation - Driveshaft Assembly - Driveshaft and axle - Kia Sorento XM 2011-2026 Service ManualKia Sorento: Dynamic Damper Installation

Second Generation XM (2011-2026) / Kia Sorento XM 2011-2026 Service Manual / Driveshaft and axle / Driveshaft Assembly / Dynamic Damper Installation

1.
Apply soap powder on the shaft to prevent being damaged between the shaft spline and the dynamic damper.
2.
Install the dynamic damper.
3.
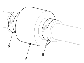
Install the dynamic damper band (A).
4.
Using the SST(09495-3K000), secure the TJ boot bands (B).

Clearance (A): 2.0 mm (0.0787 in.) or less

5.
Install the TJ joint assembly.
(Refer to Driveshaft Assembly - “TJ joint”)
6.
Install the front driveshaft.
(Refer to Driveshaft Assembly - “Front Driveshaft”)
Dynamic Damper Removal
1. Remove the front driveshaft. (Refer to Driveshaft Assembly - “Front Driveshaft”) 2. Remove the TJ joint assembly. (Refe ...

BJ Boot Components
1. BJ assembly 2. BJ circlip 3. BJ boot band 4. BJ boot 5. Dynamic damper band 6. Dynamic damper 7. Shaft 8. TJ boot band 9. TJ boot 10. Spider assembly ...

See also:

Pressure Sensor Installation
   • Check the cleanliness of the pressure sensor before installation. ...

Purge Control Solenoid Valve (PCSV)
Purge Control Solenoid Valve (PCSV) is installed on the surge tank and controls the passage between the canister and the intake manifold. It is a solenoid valve and is open when the ECM groun ...

Catalytic Converter Description
The catalytic converter of the gasoline engine is a three way catalyst. It oxidizes carbon monoxide and hydrocarbons (HC), and separates oxygen from the oxides of nitrogen (NOx). [WCC] ...

Copyright www.ksmanual.com 2014-2026