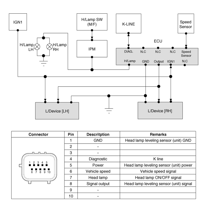
Kia Sorento: Auto Head lamp leveling Unit Circuit Diagram

Component Location
Auto Head lamp leveling Unit DescriptionSpecial Service Tools
Tool (Number and Name)
IIIustration
Use
09561-11001
Steering wheel puller
Remove the steering wheel
...
Components Location
1. Automatic transaxle
2. Shift cable bracket
3. Inhibitor switch connector
4. Manual control lever
5. Automatic transaxle mounting support bracket
6. Solenoid valve conne ...
Brake Line Inspection
1.
Check the brake tubes for cracks, crimps and corrosion.
2.
Check the brake hoses for cracks, damage and fluid leakage.
3 ...