Kia Sorento: Removal - Electro chromic Inside Rear View Mirror - Body Electrical System - Kia Sorento XM 2011-2026 Service ManualKia Sorento: Removal

Second Generation XM (2011-2026) / Kia Sorento XM 2011-2026 Service Manual / Body Electrical System / Electro chromic Inside Rear View Mirror / Removal

1.
Remove the mirror wiring cover (A).

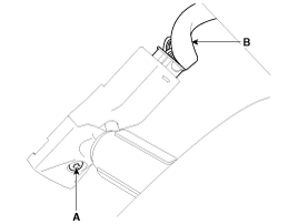
2.
Remove the mirror mounting screw (A) and connector (B).

3.
Remove the mirror (A) pulling up in the arrow direction.
  
Make sure not to damage the mounting bracket when removing the mirror.

Inspection
Check it by the procedure below to see if the function of the ECM is normal. 1. Turn the ignition key to the "ON" position. 2. Cov ...

Installation
1. Install the mirror making sure the mounting bracket not to be damaged. 2. Install the mirror wiring cover after reconnecting the connect ...

See also:

Rear Stabilizer Bar Inspection
1. Check the rear stabilizer bar for deformation. 2. Check the rear stabilizer link ball joint for damage. ...

Front seat adjustment - power (if equipped)
The front seat can be adjusted by using the control switches located on the outside of the seat cushion. Before driving, adjust the seat to the proper position so you can easily control the steerin ...

Smart key unit Installation
Smart Key Unit 1. Install the smart key unit. 2. Install the smart key unit mounting bolt and nut, and then connect the connector. ...

Copyright www.ksmanual.com 2014-2026