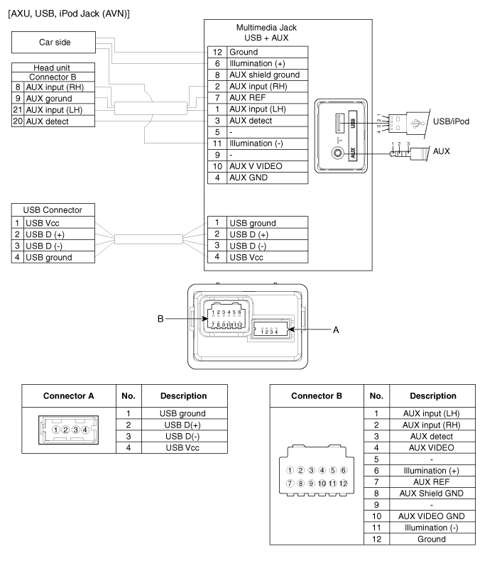
Kia Sorento: Multimedia Jack Circuit Diagram

AVN Head Unit Installation
Multimedia Jack DescriptionDriver position memory system (if equipped, for power seat)
A driver position memory system is provided to store and recall the driver seat
and outside rearview mirror position with a simple button operation.
By saving the desired position into the system ...
Troubleshooting, Customer Complaint Analysis Check Sheet
There are six areas where a problem can occur: wiring harness, the radio,
the CD player, and speaker. Troubleshooting enables you to confine the problem
to a particular area.
Chart 1 ...
Accelerator Position Sensor (APS)
Accelerator Position Sensor (APS) is installed on the accelerator pedal
module and detects the rotation angle of the accelerator pedal. The APS is one
of the most important sensors in engine ...