Kia Sorento: Front Strut Assembly Inspection - Front Suspension System - Suspension System - Kia Sorento XM 2011-2026 Service ManualKia Sorento: Front Strut Assembly Inspection

Second Generation XM (2011-2026) / Kia Sorento XM 2011-2026 Service Manual / Suspension System / Front Suspension System / Front Strut Assembly Inspection

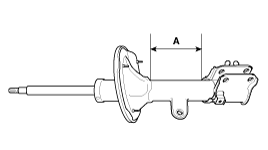
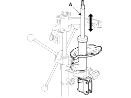
1.
Check the strut insulator for wear or damage.
2.
Check rubber parts for damage or deterioration.
3.
Compress and extend the piston rod (A) and check that there is no abnormal resistance or unusual sound during operation.

Disposal
1.
Fully extend the piston rod.
2.
Drill a hole on the A section to remove gas from the cylinder.

  
The gas coming out is harmless, but be careful of chips that may fly when drilling.
Be sure to wear safety goggles or eye protection when performing this task.
Front Strut Assembly Disassembly
1. Remove the dust cover(A). 2. Using the special tool (09546-26000), compress the coil spring (A). 3. ...

Front Strut Assembly Reassembly
1. Install the spring lower pad (D) so that the protrusions(A) fit in the holes (C) in the spring lower seat (B). 2. Compress coil ...

See also:

Specification
Item Specification Coil Resistance (Ω) 19.9 ~ 22.9 [20°C(68°F) ...

Power Tailgate Unit Removal
1. Disconnect the negative (-) battery terminal. 2. Remove the rear left luggage side trim. (Refer to Body - "Interior Trim") ...

Hill-start assist control (HAC)
A vehicle has the tendency to roll back on a steep hill when it starts to go after stopping. The Hill-start Assist Control (HAC) prevents the vehicle from rolling back by applying the brakes automat ...

Copyright www.ksmanual.com 2014-2026