Kia Sorento: Power Door Mirror Actuator Inspection - Power Door Mirrors - Body Electrical System - Kia Sorento XM 2011-2026 Service ManualKia Sorento: Power Door Mirror Actuator Inspection

Second Generation XM (2011-2026) / Kia Sorento XM 2011-2026 Service Manual / Body Electrical System / Power Door Mirrors / Power Door Mirror Actuator Inspection

1.
Disconnect the negative (-) battery terminal.
2.
Remove the driver door module.
(Refer to Body - "Front door")
3.
Disconnect the connector from the mirror.
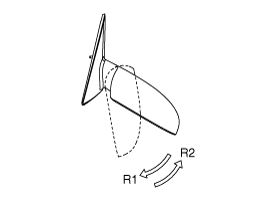
4.
Verify that the mirror operates properly as shown in the table.

Mirror Heater

Turn Signal Lamp

BSD Warning Lamp

Mirror Folding

Power Door Mirror Switch Inspection
1. Remove the front door trim and power door mirror switch module (A). (Refer to Body - "Front door") 2. Check fo ...

Power Windows
...

See also:

Rear Wiper Motor Inspection
Rear Wiper Motor 1. Remove the 4P connector from the rear wiper motor. 2. Connect battery positive (+) and negative (-) cables to terminals ...

IMS Control Switch Inspection
1. Disconnect the IMS control switch connector. 2. With the power IMS control switch in each position, make sure that continuity ex ...

Water Temperature Control Assembly Components
1. O-ring 2. Water temperature control assembly 3. Water inlet fitting 4. Engine coolant temperature sensor 5. Thermostat 6. Thermostat gasket 7. Oil cooler coolant ho ...

Copyright www.ksmanual.com 2014-2026