Kia Sorento: Failure Diagnosis - ESC(Electronic Stability Control) System - Brake System - Kia Sorento XM 2011-2025 Service ManualKia Sorento: Failure Diagnosis

Second Generation XM (2011-2025) / Kia Sorento XM 2011-2025 Service Manual / Brake System / ESC(Electronic Stability Control) System / Failure Diagnosis

1.
In principle, ESC and TCS controls are prohibited in case of ABS failure.
2.
When ESC or TCS fails, only the failed system control is prohibited.
3.
However, when the solenoid valve relay should be turned off in case of ESC failure, refer to the ABS fail-safe.
4.
Information on ABS fail-safe is identical to the fail-safe in systems where ESC is not installed.
Memory of Fail Code
1.
It keeps the code as far as the backup lamp power is connected. (O)
2.
It keeps the code as far as the HCU power is on. (X)
Failure Checkup
1.
Initial checkup is performed immediately after the HECU power on.
2.
Valve relay checkup is performed immediately after the IG2 ON.
3.
It executes the checkup all the time while the IG2 power is on.
Countermeasures in Fail
1.
Turn the system down and perform the following actions and wait for HECU power OFF.
2.
Turn the valve relay off.
3.
Stop the control during the operation and do not execute any until the normal condition recovers.
Warning Lamp ON
1.
ESC warning lamp turn on for 3sec after IGN ON.
2.
ESC function lamp blinks when ESC Act.
3.
If ESC fail occured, ESC warning turns ON.
4.
ESC OFF lamp turn on in case of
A.
ESC Switch OFF
B.
3sec after IGN ON
Standard Flow of Diagnostic Troubleshooting

Notes With Regard To Diagnosis
The phenomena listed in the following table are not abnormal.
Condition
Explanation
System check sound
When starting the engine, a thudding sound can sometimes be heard coming
from inside the engine compartment. This is because the system operation
check is being performed.
ABS operation sound
1.
Sound of the motor inside the ABS hydraulic unit operation (whine).
2.
Sound is generated along with vibration of the brake pedal (scraping).
3.
When ABS operates, sound is generated from the vehicle chassis due to
repeated brake application and release
(Thump : suspension; squeak: tires)
ABS operation (Long braking distance)
For road surfaces such as snow-covered and gravel roads, the braking distance for vehicles with ABS can sometimes be longer than that for other vehicles. Accordingly, advise the customer to drive safely on such roads by lowering the vehicle speed.
Diagnosis detection conditions can vary depending on the diagnosis code. When checking the trouble symptom after
the diagnosis code has been erased, ensure that the requirements listed in "Comment" are met.

ABS Check Sheet

Problem Symptoms Table
Symptom
Suspect Area
ABS does not operate.
Only when 1~4 are all normal and the problem is still occurring, replace the HECU.
1.
Check the DTC reconfirming that the normal code is output.
2.
Power source circuit.
3.
Speed sensor circuit.
4.
Check the hydraulic circuit for leakage.
ABS does not operate intermittently.
Only when 1~4 are all normal and the problem is still occurring, replace the ABS actuator assembly.
1.
Check the DTC reconfirming that the normal code is output.
2.
Wheel speed sensor circuit.
3.
Stop lamp switch circuit.
4.
Check the hydraulic circuit for leakage.
Communication with GDS
is not possible.
(Communication with any system is
not possible)
1.
Power source circuit
2.
CAN line
Communication with GDS
is not possible.
(Communication with ABS only is
not possible)
1.
Power source circuit
2.
CAN line
3.
HECU
When ignition key is turned ON
(engine OFF),
the ABS warning lamp does not light up.
1.
ABS warning lamp circuit
2.
HECU
Even after the engine is started, the ABS
warning lamp remains ON.
1.
ABS warning lamp circuit
2.
HECU

  
During ABS operation, the brake pedal may vibrate or may not be able to be depressed. Such phenomena are due to intermittent changes in hydraulic pressure inside the brake line to prevent the wheels from locking and is not an abnormality.

Detecting condition
Trouble Symptoms
Possible Cause
Brake operation varies depending on driving conditions and road surface conditions, so diagnosis can be difficult. However if a normal DTC is displayed, check the following probable cause. When the problem is still occurring, replace the ESC control module.
-
Faulty power source circuit
-
Faulty wheel speed sensor circuit
-
Faulty hydraulic circuit for leakage
-
Faulty HECU

Inspection procedures
DTC Inspection
1.
Connect the GDS with the data link connector and turn the ignition switch ON.
2.
Verify that the DTC code is output.
3.
Is the DTC code output?

▶ Check the power source circuit.

▶ Erase the DTC and recheck using GDS.

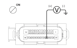
Check the power source circuit
1.
Disconnect the connector from the ESC control module.
2.
Turn the ignition switch ON, measure the voltage between terminal 29 of the ESC control module harness side connector and body ground.

Specification: approximately B+

3.
Is the voltage within specification?

▶ Check the ground circuit.

▶ Check the harness or connector between the fuse (10A) in the engine compartment junction block and the ESC control module. Repair if necessary.

Check the ground circuit
1.
Disconnect the connector from the ESC control module.
2.
Check for continuity between terminals 13, 38 of the ESC control module harness side connector and ground point.

3.
Is there continuity?

▶ Check the wheel speed sensor circuit.

▶ Repair an open in the wire and ground point.

Check the wheel speed sensor circuit
1.
Refer to the DTC troubleshooting procedures.
2.
Is it normal?

▶ Check the hydraulic circuit for leakage.

▶ Repair or replace the wheel speed sensor.

Check the hydraulic circuit for leakage
1.
Refer to the hydraulic lines.
2.
Inspect leakage of the hydraulic lines.
3.
Is it normal?

▶ The problem is still occurring, replace the ESC control module.

▶ Repair the hydraulic lines for leakage.

Detecting condition
Trouble Symptoms
Possible Cause
Brake operation varies depending on driving conditions and road surface conditions, so diagnosis can be difficult. However if a normal DTC is displayed, check the following probable cause. When the problem is still occurring, replace the ESC control module.
-
Faulty power source circuit
-
Faulty wheel speed sensor circuit
-
Faulty hydraulic circuit for leakage
-
Faulty HECU

Inspection procedures
DTC Inspection
1.
Connect the GDS with the data link connector and turn the ignition switch ON.
2.
Verify that the DTC code is output.
3.
Is the DTC code output?

▶ Check the wheel speed sensor circuit.

▶ Erase the DTC and recheck using GDS.

Check the wheel speed sensor circuit
1.
Refer to the DTC troubleshooting procedures.
2.
Is it normal?

▶ Check the stop lamp switch circuit.

▶ Repair or replace the wheel speed sensor.

Check the stop lamp switch circuit
1.
Check that stop lamp lights up when brake pedal is depressed and turns off when brake pedal is released.
2.
Measure the voltage between terminal 23 of the ESC control module harness side connector and body ground when brake pedal is depressed.

Specification : approximately B+

3.
Is the voltage within specification?

▶ Check the hydraulic circuit for leakage.

▶ Repair the stop lamp switch. Repair an open in the wire between the ESC control module and the stop lamp switch.

Check the hydraulic circuit for leakage
1.
Refer to the hydraulic lines.
2.
Inspection leakage of the hydraulic lines.
3.
Is it normal?

▶ The problem is still occurring, replace the ESC control module.

▶ Repair the hydraulic lines for leakage.

Detecting condition
Trouble Symptoms
Possible Cause
Possible defect in the power supply system (including ground) for the diagnosis line.
-
An open in the wire
-
Poor ground
-
Faulty power source circuit

Inspection procedures
Check The Power Supply Circuit For The Diagnosis
1.
Measure the voltage between terminal 16 of the data link connector and body ground.

Specification : approximately B+

2.
Is voltage within specification?

▶ Check the ground circuit for the diagnosis.

▶ Repair an open in the wire. Check and replace fuse from the engine compartment junction block.

Check the ground circuit for the diagnosis
1.
Check for continuity between terminal 4 of the data link connector and body ground.

2.
Is there continuity?

▶ Repair an open in the wire between terminal 4 of the data link connector and ground point.

Detecting condition
Trouble Symptoms
Possible Cause
When communication with GDS is not possible, the cause may be probably an open in the HECU power circuit or an open in the diagnosis output circuit.
-
An open in the wire
-
Faulty HECU
-
Faulty power source circuit

Inspection procedures
Check for Continuity in the CAN Line
1.
Disconnect the connector from the ESC control module.
2.
Check for continuity between terminals 26, 14 of the ESC control module connector and 3, 11 of the data link connector.
3.
Is there continuity?

▶ Check the power source of ESC control module.

▶ Repair an open in the wire.

Check the power source of ESC control module
1.
Disconnect the connector from the ESC control module.
2.
Turn the ignition switch ON, measure the voltage between terminal 29 of the ESC control module harness side connector and body ground.

Specification : approximately B+

3.
Is voltage within specification?

▶ Check for poor ground.

▶ Check the harness or connector between the fuse (10A) in the engine compartment junction block and the ESC control module.Repair if necessary.

Check for poor ground
1.
Check for continuity between terminal 4 of the data link connector and ground point.

▶ Replace the ESC control module and recheck.

▶ Repair an open in the wire or poor ground

Detecting condition
Trouble Symptoms
Possible Cause
When current flows in the HECU the ABS warning lamp turns from ON
to OFF as the initial check. Therefore if the lamp does not light up, the
cause may be an open in the lamp power supply circuit, a blown bulb,
an open in the both circuits between the ABS warning lamp and the
HECU, and the faulty HECU.
-
Faulty ABS warning lamp bulb
-
Blown fuse is related to ABS in the engine compartment junction block
-
Faulty ABS warning lamp module
-
Faulty HECU

Inspection procedures
Problem verification
1.
Disconnect the connector from the ESC control module and turn the ignition switch ON.
2.
Does the ABS warning lamp light up?
Schematic Diagrams
Circuit Diagram - ESC (1) Circuit Diagram - ESC (2) Circuit Diagram - ESC (3) Circuit Diagram - ESC (4) ESC connector input/output Connector Terminal Specifica ...

EBD (Electronic Brake-force Distribution)
The EBD system (Electronic Brake force Distribution) as a sub-system of the ABS system is to control the maximum braking effectiveness by the rear wheels. It further utilizes the efficiency ...

See also:

Record your key number
The key code number is stamped on the bar code tag attached to the key set. Should you lose your keys, this number will enable an authorized Kia dealer to duplicate the keys easily. Remove the ba ...

Cooling Fan Removal and Installation
Cooling Fan Assembly 1. Disconnect the battery terminals. 2. Remove the air cleaner assembly. (Refer to Intake And Exhaust ...

Evaporator Temperature Sensor Replacement
1. Disconnect the negative (-) battery terminal. 2. Remove the heater and blower assembly. (Refer to Heater - "Heater Unit") ...

Copyright www.ksmanual.com 2014-2025